Chi phí đầu tư cao, hiệu suất không ổn định và nguy cơ không đạt chuẩn xả thải đang khiến nhiều doanh nghiệp gặp khó khăn trong xử lý nước thải dệt nhuộm. Khi hệ thống hoạt động kém hiệu quả, rủi ro bị phạt, gián đoạn sản xuất và ảnh hưởng uy tín luôn rình rập. Giải pháp công nghệ tối ưu là chìa khóa giúp doanh nghiệp xử lý triệt để, tiết kiệm chi phí và duy trì phát triển bền vững. Tham khảo ngay bài viết dưới đây.
Xử lý nước thải dệt nhuộm là gì?
Xử lý nước thải dệt nhuộm là quá trình loại bỏ các tạp chất, hóa chất, thuốc nhuộm và các chất ô nhiễm khác có trong nước thải phát sinh từ hoạt động dệt, nhuộm và hoàn tất vải. Mục tiêu là đảm bảo nguồn nước sau xử lý đạt QCVN 40:2025/BTNMT trước khi thải ra môi trường hoặc tái sử dụng.

Quy trình xử lý nước thải dệt nhuộm đạt chuẩn

Thuyết minh quy trình
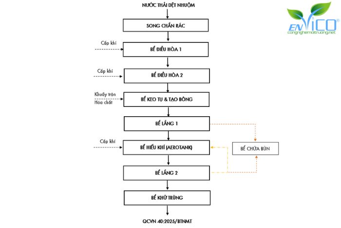
Song chắn rác
Nước thải dệt nhuộm từ các công đoạn sản xuất được dẫn qua song chắn rác nhằm loại bỏ rác thô, xơ sợi, bao bì và các vật liệu có kích thước lớn. Tại đây, hệ thống giúp bảo vệ máy bơm, đường ống và các thiết bị xử lý phía sau khỏi bị tắc nghẽn hoặc hư hại cơ học.
Bể điều hòa 1
Tiếp theo, nước thải sau khi được loại bỏ rác thô sẽ chảy vào bể điều hòa 1. Tại đây, lưu lượng và nồng độ ô nhiễm được cân bằng để hạn chế các dao động đột ngột, góp phần đảm bảo sự ổn định cho các quá trình xử lý phía sau.
Hệ thống ống phân phối
Nước từ bể điều hòa 1 được đưa qua hệ thống ống phân phối. Giai đoạn này giúp phân chia dòng chảy đồng đều đến các bể xử lý, tránh hiện tượng chảy tắt hoặc phân phối không đều gây giảm hiệu quả xử lý.
Bể điều hòa 2
Tại bể điều hòa 2, hệ thống máy thổi khí được vận hành nhằm cung cấp oxy, hỗ trợ khuấy trộn, duy trì dòng chảy liên tục và ngăn lắng cặn. Giai đoạn này đồng thời giúp ổn định pH, giảm mùi và hạn chế hiện tượng phân hủy yếm khí.
Bể keo tụ
Tiếp tục, nước thải được dẫn đến bể keo tụ. Tại đây, các hóa chất như phèn nhôm hoặc PAC được châm vào nhằm trung hòa điện tích, phá vỡ liên kết của các chất rắn lơ lửng, tạo điều kiện thuận lợi cho quá trình tạo bông ở bước kế tiếp.
Bể tạo bông
Tại giai đoạn này, polymer được bổ sung cùng với khuấy trộn chậm, giúp các hạt keo liên kết thành bông cặn lớn, bền và dễ lắng. Quá trình này đóng vai trò quyết định hiệu quả tách rắn – lỏng tại bể lắng phía sau.
Bể lắng 1
Nước tiếp tục được dẫn vào bể lắng 1 để tách bông cặn ra khỏi nước nhờ trọng lực. Bùn lắng sẽ được gom về bể chứa bùn, trong khi phần nước trong tiếp tục đi qua bể trung gian để ổn định tải lượng.
Bể chứa bùn
Tại đây, toàn bộ bùn từ quá trình lắng được thu gom và lưu giữ. Bùn dư sẽ được bơm qua bể nén bùn, sau đó chuyển sang máy ép bùn để tách nước, tạo thành bùn khô trước khi bàn giao cho đơn vị xử lý chất thải rắn.
Bể trung gian
Giai đoạn này có chức năng duy trì ổn định lưu lượng và tải lượng nước sau lắng trước khi đưa vào bể sinh học. Việc này giúp tránh sốc tải cho vi sinh vật ở công đoạn kế tiếp.
Bể hiếu khí
Tại bể hiếu khí, máy thổi khí cung cấp oxy cho vi sinh vật hiếu khí hoạt động. Chúng phân hủy các hợp chất hữu cơ như BOD, COD và chuyển hóa amoni thành nitrat. Đây là công đoạn xử lý sinh học chính, ảnh hưởng trực tiếp đến chất lượng nước đầu ra.
Bể lắng 2
Sau xử lý sinh học, hỗn hợp nước và bùn hoạt tính được đưa sang bể lắng 2 để tách bùn ra khỏi nước. Phần bùn được tuần hoàn về bể hiếu khí nhằm duy trì mật độ vi sinh ổn định, phần dư tiếp tục chuyển về bể chứa bùn sinh học.
Bể khử trùng
Tại bể khử trùng, hóa chất được châm vào để tiêu diệt các vi sinh vật gây bệnh còn sót lại, đảm bảo nước đạt tiêu chuẩn theo QCVN 45:2025/BTNMT (cột A, B hoặc C tùy yêu cầu xả thải của dự án).
Bể lọc áp lực & Thiết bị trộn tĩnh
Nước sau khử trùng được dẫn qua bể lọc áp lực nhằm loại bỏ thêm cặn mịn và màu còn sót lại. Thiết bị trộn tĩnh được tích hợp nhằm đảm bảo hóa chất phân bố đồng đều, tối ưu hóa hiệu quả khử trùng..
Lưu ý: Tùy vào đặc thù nước thải, tải lượng ô nhiễm, yêu cầu xả thải và điều kiện tài chính, quy trình có thể được điều chỉnh công nghệ sao cho phù hợp.
Thông số ô nhiễm đặc trưng của ngành dệt nhuộm
Từ ngày 01/7/2025, quy chuẩn QCVN 40:2025/BTNMT chính thức có hiệu lực, thay thế các quy chuẩn cũ (bao gồm QCVN 13-MT:2015/BTNMT áp dụng riêng cho ngành dệt nhuộm).
Loại hình sản xuất, kinh doanh, dịch vụ | Mã ngành kinh tế | Thông số ô nhiễm đặc trưng | Một số thông số ô nhiễm khác có thể phát sinh |
Sản xuất sợi, vải dệt thoi và hoàn thiện sản phẩm dệt | C 13 | Tổng Nitơ, tổng Phốt pho, amoni | – Sử dụng công đoạn nhuộm hoặc tẩy: Độ màu, chất hoạt động bề mặt anion, tổng phenol, phenol, xianua, sunfua, Cr⁶⁺, tổng Cr. |
Nguồn: Phụ lục 2 – QCVN 40:2025/BTNMT
Công ty thiết kế hệ thống xử lý nước thải dệt nhuộm uy tín
Với bề dày kinh nghiệm và sự am hiểu về ngành, Envico hứa hẹn sẽ mang đến cho khách hàng những giải pháp công nghệ môi trường tối ưu, hiệu quả và phù hợp nhất. Dưới đây là 5 lý do quan trọng giúp doanh nghiệp tin tưởng và lựa chọn Envico làm đối tác đồng hành lâu dài.
5 lý do doanh nghiệp tin tưởng lựa chọn Envico
- Kinh nghiệm hơn 11 năm trong lĩnh vực công nghệ môi trường, triển khai thành công nhiều dự án đa ngành, đặc biệt ngành dệt nhuộm.
- Giải pháp công nghệ tối ưu, cá nhân hóa theo đặc thù ô nhiễm và nhu cầu riêng của từng doanh nghiệp.
- Tuân thủ nghiêm ngặt tiêu chuẩn QCVN và quy định pháp luật, đảm bảo không rủi ro pháp lý.
- Đội ngũ chuyên gia giàu kinh nghiệm, tận tâm, đồng hành xuyên suốt từ khảo sát đến vận hành hệ thống.
- Hỗ trợ kỹ thuật và dịch vụ hậu mãi nhanh chóng – 24/7, giúp doanh nghiệp vận hành liên tục, ổn định

Một số câu hỏi thường gặp
Dưới đây là những thắc mắc phổ biến mà doanh nghiệp thường gặp khi tìm hiểu về hệ thống xử lý nước thải dệt nhuộm. Hy vọng phần này sẽ giúp bạn có cái nhìn rõ hơn trước khi triển khai thực tế.
Báo giá xử lý nước thải dệt nhuộm
Chi phí xử lý nước thải dệt nhuộm phụ thuộc vào nhiều yếu tố như:
- Công suất hệ thống (m³/ngày)
- Thành phần, tính chất nước thải (độ màu, COD, BOD, kim loại nặng, độ pH…)
- Công nghệ áp dụng (sinh học, hóa lý, kết hợp…)
- Chi phí vận hành, hóa chất, điện năng
Lưu ý: Để nhận báo giá chi tiết cho hệ thống xử lý nước thải dệt nhuộm của doanh nghiệp, quý khách vui lòng liên hệ ngay với ENVICO để được hỗ trợ.
Một số phương pháp xử lý nước thải dệt nhuộm
Trong thực tế, xử lý nước thải dệt nhuộm thường kết hợp nhiều phương pháp để đạt hiệu quả cao nhất. Một số phương pháp phổ biến gồm:
Keo tụ – Tạo bông
Hoạt động bằng cách cho hóa chất (như phèn nhôm, PAC) vào nước thải để trung hòa điện tích các hạt màu và cặn, giúp chúng kết dính thành bông lớn và lắng xuống. Phương pháp này xử lý tốt nước thải có độ màu và độ đục cao, đặc trưng của ngành dệt nhuộm.
Hấp phụ
Sử dụng vật liệu như than hoạt tính hoặc vật liệu zeolit để hút giữ các phân tử màu và hợp chất hữu cơ khó phân hủy. Thường dùng ở giai đoạn xử lý nâng cao nhằm loại bỏ màu và mùi còn sót lại sau các bước khác.
Oxy hóa nâng cao
Dùng các tác nhân oxy hóa mạnh (ozone, clo, Fenton, UV/H₂O₂) để phá vỡ cấu trúc phân tử thuốc nhuộm, biến chúng thành chất dễ phân hủy hoặc ít độc hơn. Hiệu quả đặc biệt với nước thải chứa thuốc nhuộm bền vững, khó xử lý bằng sinh học.
Xử lý sinh học
Tận dụng vi sinh vật hiếu khí hoặc kỵ khí để phân hủy chất hữu cơ hòa tan, giảm BOD, COD. Phương pháp này thích hợp áp dụng sau xử lý hóa lý, khi phần lớn màu đã được loại bỏ, giúp ổn định chất lượng nước trước khi xả thải.
Màng lọc
Sử dụng công nghệ vi lọc, siêu lọc hoặc thẩm thấu ngược để tách màu, muối và chất rắn hòa tan. Đây là giải pháp vật lý có khả năng tạo nước sau xử lý đạt chuẩn tái sử dụng, phù hợp xu hướng sản xuất tuần hoàn trong ngành dệt nhuộm.
Tùy vào đặc thù ô nhiễm của nước thải, quy mô sản xuất và nguồn vốn đầu tư mà doanh nghiệp sẽ lựa chọn hoặc kết hợp các phương pháp xử lý phù hợp. Liên hệ với Envico ngay để được tư vấn nhé!
Xử lý nước thải dệt nhuộm đạt chuẩn nhằm loại bỏ các hợp chất màu, chất hữu cơ khó phân hủy và hóa chất độc hại trước khi xả ra môi trường. Đây là yêu cầu bắt buộc để doanh nghiệp đáp ứng quy định pháp luật và tăng uy tín. Với công nghệ xử lý hiện đại và đội ngũ kỹ sư nhiều kinh nghiệm, Envico cung cấp hệ thống vận hành ổn định, dễ kiểm soát và đạt hiệu quả lâu dài, giúp nhà máy an tâm phát triển theo hướng xanh và bền vững.
CÔNG TY CỔ PHẦN CÔNG NGHỆ MÔI TRƯỜNG ENVICO
Địa chỉ: Lầu 3, Indochina Tower, 4 Nguyễn Đình Chiểu, P. ĐaKao, Quận 1, Tp. HCM
Hotline: 0909 79 44 45 (Mr.Huy)
Điện thoại: (028) 66 797 205
E-mail: admin@envico.vn
Website: Congnghemoitruong.net
Fanpage : Công ty cổ phần môi trường Envico

